向下滚动,查看更多信息

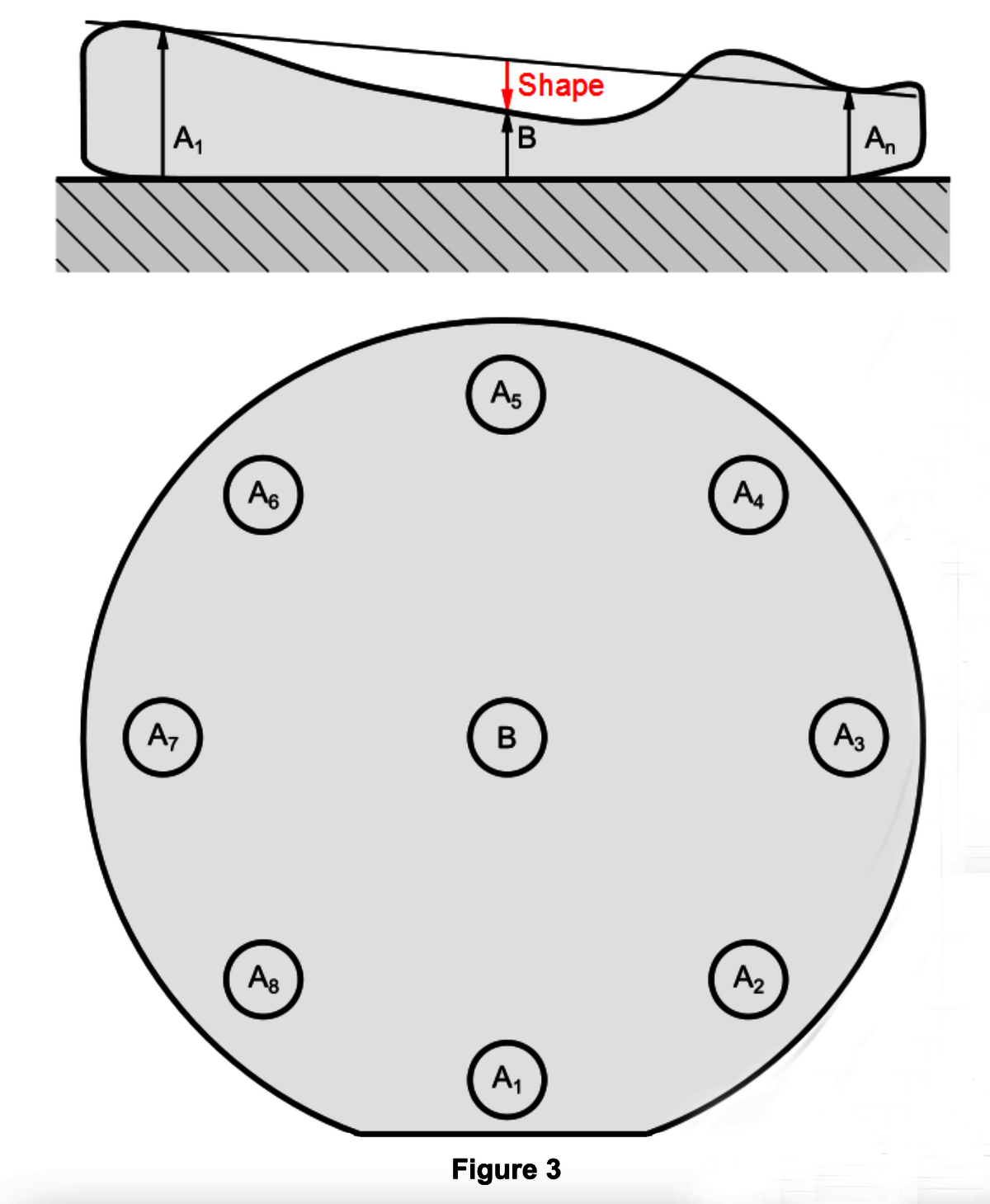
形状


从中心厚度值减去晶片边缘厚度值计算出的平均值。

向下滚动,查看更多信息

\( \text { Shape }=\text { CntThk }-\frac{\sum_{i:=1}^{n(\text { Shape })} \operatorname{Th} k(\text { Shape }(i))}{n(\text { Shape })} \)

向下滚动,查看更多信息

您有任何问题吗?

通过直接联系,我们可以最好地确定如何帮助您克服困难。请写信给我们:

 

联系表格

向下滚动,查看更多信息
向下滚动,查看更多信息
向下滚动,查看更多信息